联合封禁系统 v1.0.1
关于Rust联合封禁系统
如果您是PVP服务器,这个插件系统非常适合您。
他不需要太多的配置,只需要把插件安装到您的服务器后,执行 CentralFirstRun 命令即可初始化同步在 Rust集中封禁查询系统 中已封禁的玩家ID。
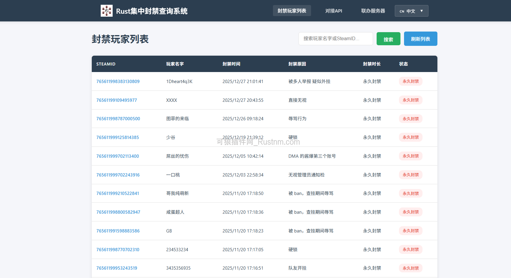
当玩家进入您的服务器后,插件会查询玩家的ID进行和 Rust集中封禁查询系统 数据库中已封禁的玩家信息对比,如果数据库中存在封禁玩家信息,则将此玩家踢出您的服务器。如果没有封禁信息则正常进入!
![图片[1]-Rust腐蚀服务器 CentralBan - 联合封禁系统 v1.0.1](https://cj.rustnm.com/rustwebimg/QianShaozahan1.1/afmknmfa111.jpg-rustnmimg)
![图片[2]-Rust腐蚀服务器 CentralBan - 联合封禁系统 v1.0.1](https://cj.rustnm.com/rustwebimg/QianShaozahan1.1/afmknmfa222.jpg-rustnmimg)
欢迎您加入我们的联合封禁系统,为更好的服务器净化环境。让服主不再辛苦的查询外挂、科技、坐标、不良好的行为。
![图片[3]-Rust腐蚀服务器 CentralBan - 联合封禁系统 v1.0.1](https://cj.rustnm.com/rustwebimg/Lianban/5fa0ce02726bcc914094bbb6b862e1a5.png-rustnmimg)
![图片[4]-Rust腐蚀服务器 CentralBan - 联合封禁系统 v1.0.1](https://cj.rustnm.com/rustwebimg/Lianban/5ceda156746f5b06c36575ba51e138c1.png-rustnmimg)
![图片[5]-Rust腐蚀服务器 CentralBan - 联合封禁系统 v1.0.1](https://cj.rustnm.com/rustwebimg/Lianban/QQ20251231-154334.jpg-rustnmimg)
© 版权声明
THE END














暂无评论内容